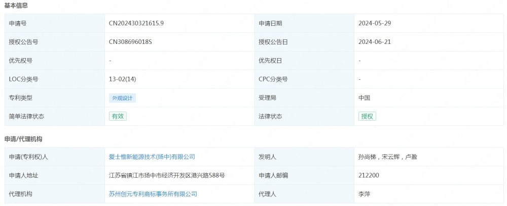
据电力家了解到,企查查显示,爱士惟新能源技术(扬中)有限公司获得一项实用新型专利授权,专利名为“储能逆变器上盖”,专利授权号为CN308696018S,授权日期为2024年6月21日。

专利摘要显示,1.本外观设计产品的名称:储能逆变器上盖。2.本外观设计产品的用途:用作储能逆变器的箱体的上盖。3.本外观设计产品的设计要点:在于形状。4.最能表明设计要点的图片或照片:主视图。
Br>
发布时间:2024-06-21 人气: 来源:国际能源网 关键词:储能逆变器,储能系统,爱士惟,
据电力家了解到,企查查显示,爱士惟新能源技术(扬中)有限公司获得一项实用新型专利授权,专利名为“储能逆变器上盖”,专利授权号为CN308696018S,授权日期为2024年6月21日。

专利摘要显示,1.本外观设计产品的名称:储能逆变器上盖。2.本外观设计产品的用途:用作储能逆变器的箱体的上盖。3.本外观设计产品的设计要点:在于形状。4.最能表明设计要点的图片或照片:主视图。
Br>
资讯来源:国际能源网
免责声明: 本站内容转载自合作媒体、机构或其他网站的信息,转载此文仅出于传递更多信息的目的,但这并不意味着赞同其观点或证实其内容的真实性。本站所有信息仅供参考,不做交易和服务的根据。本站内容如有侵权或其它问题请及时告之,本网将及时修改或删除。凡以任何方式登录本网站或直接、间接使用本网站资料者,视为自愿接受本网站声明的约束。