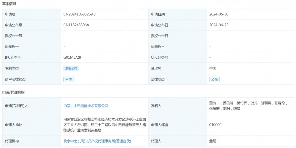
据电力家了解到,企查查显示,内蒙古中电储能技术有限公司申请公布一项发明专利,专利名为“液冷储能电池组的漏液检测方法及系统”,专利申请公布号为CN118243306A,申请公布日为2024年6月25日。

专利摘要显示,本发明提供了液冷储能电池组的漏液检测方法及系统,涉及数据处理技术领域,通过基于实时温度阵列分析获得液冷控制参数阵列对液冷储能电池组执行液冷降温,在执行液冷降温过程中采集获得实时流压阵列,并基于实时流压阵列执行漏液管道定位,获得实时漏液检测结果;将液冷降温过程监测获得的温度序列阵列同步至预构建的漏液效验网络对实时漏液检测结果执行漏液效验。解决了现有技术中存在对于液冷散热电池组进行漏液检测的精度较低且检测耗时较长的技术问题。达到了快速定位冷却液泄漏位点,提高漏液检测精度,保障液冷储能电池组有效散热以及避免漏液严重影响液冷储能电池组的正常运行应用的技术效果。

